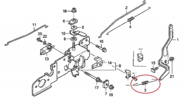
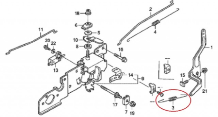
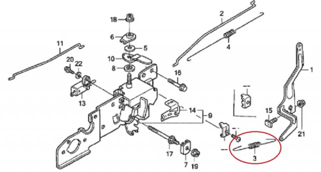
Arc regulator turatie Honda GCV 160, GCV 190 (mic)

Taiwan
13,00 Lei
In stoc
Limita stoc
Adauga in cos
Cod Produs: 25-2005 Ai nevoie de ajutor? 0740 429 798
Adauga la Favorite Cere informatii
  • Descriere
  • Review-uri (0)
Arc regulator turatie Honda GCV 160, GCV 190. Cod original OEM: 16561-ZM0-000 Pentru dimensiuni va rugam sa consultati imaginea de mai jos:
Informatii conformitate produs
Daca doresti sa iti exprimi parerea despre acest produs poti adauga un review.

Review-ul a fost trimis cu succes.

Suport clienti 09:30-15:00

0740 429 798 pieselaclickt@gmail.com

Compara produse

Trebuie sa mai adaugi cel putin un produs pentru a compara produse.

A fost adaugat la favorite!

A fost sters din favorite!